Kershaw’s Innovation That Changed the Knife World

Kershaw’s Assisted Opening: The Innovation That Changed the Knife World

When you pick up a Kershaw folding knife and flick the thumb stud or pull back on a flipper tab, you’ll feel it — a crisp, confident snap that brings the blade into action with speed and purpose. That’s not magic; it’s Kershaw’s assisted opening mechanism doing exactly what it was designed to do: give you fast, one-handed access to your blade, without relying on bulky springs or automatic deployment.

This simple, satisfying motion has made Kershaw a household name among knife users. It’s quicker than a traditional folder and more reliable than many spring-assist competitors. Whether you’re opening a package, slicing rope, or preparing kindling, the difference is obvious — and once you try it, you’ll wonder how you ever lived without it.

Originally introduced under the name SpeedSafe, Kershaw’s assisted opening system is more than a brand gimmick — it’s a patented innovation that changed the knife world. Let’s take a deeper look at how it works, why it matters, and why collectors and enthusiasts continue to praise it decades after its invention.

What Is Assisted Opening — and What Makes Kershaw’s System Special?

Kershawfigone

Assisted opening knives bridge the gap between manual folders and fully automatic blades. They’re not switchblades — you still need to manually start the opening motion — but once the blade moves slightly, the internal mechanism takes over, rapidly swinging the blade into a locked, open position.

Kershaw’s system uses a torsion bar hidden inside the handle. When the knife is closed, the torsion bar holds tension against the blade, keeping it secure. As you push on the thumb stud or flipper, you’re overcoming that resistance — and at a certain point, the bar reverses direction and propels the blade outward with smooth, reliable speed.

The beauty lies in the balance: you get rapid deployment without violating knife laws in many jurisdictions. And because the system is mechanical rather than fully spring-loaded, it keeps wear-and-tear to a minimum.

Kershaw didn’t invent the idea of an assisted blade — but they perfected it, patented it, and built an entire catalog of knives around it. The result is a product line that feels equally at home in a toolbox, a glove compartment, or a collector’s cabinet.

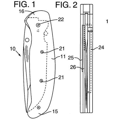
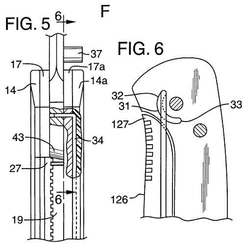
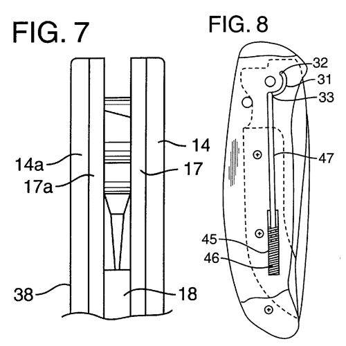
A Patented Breakthrough That Redefined Folding Knives

Kershawfigtwo

The assisted opening system that powers so many of Kershaw’s most popular knives wasn’t just clever engineering — it was legally groundbreaking. In 1997, renowned knifemaker Ken Onion, working with Kershaw’s parent company Kai USA, filed U.S. Patent 6145202A for a spring-assisted folding knife mechanism. This patent would go on to define the industry’s standard for what an assisted knife could be.

The key component of the system is the torsion bar — a flat, spring-steel bar anchored to the knife’s frame and tensioned against a cam surface on the blade’s pivot. This bar resists the opening motion just enough to keep the blade safely closed, but once the user applies sufficient force (typically via a thumb stud or flipper tab), the bar then assists the blade, completing the motion quickly and decisively.

Compared to automatic knives, which are often regulated as weapons and require a push-button or release to fire the blade open, Kershaw’s system offered a legal and user-controlled alternative. It was intuitive, robust, and far less likely to misfire. The patent documents even describe how the design improves safety by keeping the knife securely closed until the user deliberately opens it.

For collectors and knife enthusiasts, this wasn’t just a clever design — it was a milestone in modern knife-making. It allowed for compact, pocket-friendly folders with the speed of an automatic and the control of a manual knife — a combination few companies could match at the time.

The Legacy of SpeedSafe

Kershawfigthree

When Kershaw launched its new system, it branded the mechanism as “SpeedSafe®”, and it quickly became synonymous with the company’s name. Early models like the Kershaw Leek, Blur, and Scallion became fan favorites, combining sleek designs with one of the most responsive opening actions on the market.

For years, SpeedSafe wasn’t just a feature — it was a selling point proudly printed on packaging and blades alike. It told users exactly what to expect: smooth, spring-assisted deployment with no gimmicks or surprises.

Though Kershaw has since moved away from using the SpeedSafe name prominently in marketing, the core mechanism remains unchanged in dozens of current models. Many users still refer to the system as “SpeedSafe” out of habit — a testament to how strongly the name became tied to the experience.

Other knife brands have developed their own assisted opening systems since — but Kershaw remains the benchmark. The company's commitment to quality, affordability, and innovation has ensured that their original concept is still in use, still in demand, and still ahead of the curve more than two decades later.

Why It Still Matters: Real-World Benefits for Knife Users

Kershawfigfour

While the mechanics behind the system are impressive, the real value comes from how it feels in the hand. For anyone who’s ever struggled to open a stubborn knife one-handed, Kershaw’s assisted opening provides an instant solution. It's fast, easy, and reliable, even when you're wearing gloves or dealing with wet conditions.

Outdoor users, first responders, and tradespeople have long appreciated the system’s dependability in unpredictable conditions. Whether you're slicing paracord on a hike or popping zip ties in the shop, the blade is always ready to go with a flick of the finger — no struggling, no lag.

But this isn't just a tool for hard use — it’s equally practical for everyday carry (EDC). Opening boxes, preparing food, or handling minor repairs all benefit from that seamless, one-handed operation. And because the knife stays safely closed until you're ready, you get a surprising amount of safety from a spring-assisted system.

Kershaw’s decision to balance strength with control also makes their knives accessible for newer users. The mechanism isn't intimidating. There’s a sense of confidence when using a SpeedSafe knife that’s hard to describe — but easy to recognize once you’ve felt it.

For Collectors: Subtle Variations, Bold Designs

Kershawfigfive

Beyond the function, there’s also a form that collectors love. Kershaw has released dozens of assisted opening models over the years, many with limited runs, signature collaborations, and experimental materials.

Some versions emphasize speed and weight, like the Launch and Knockout, while others — such as the Blur or Leek Damascus — appeal to collectors with premium finishes and exotic steels. Many incorporate anodized aluminum, carbon fiber, or G10 handles, giving each model its own personality while still housing the familiar internal mechanism.

Collectors often remark on how each knife feels slightly different, even within the same series. The degree of tension, the feel of the detent, the snappiness of the bar — these nuances become part of the experience and the lore surrounding each release. A seasoned enthusiast can often tell which generation or production year a knife comes from by feel alone.

The fact that the mechanism is largely invisible also contributes to the mystique. From the outside, Kershaw’s assisted opening knives don’t scream “tech.” They just work — and that quiet efficiency has turned many practical users into passionate collectors.

Looking Ahead: The Evolution of Kershaw Innovation

Kershaw hasn’t rested on its laurels. While the assisted opening system remains a core feature across many models, the company continues to innovate with newer designs, including the DuraLock bar system, deep-carry pocket clips, and high-end collaborations with designers like Dmitry Sinkevich and Rick Hinderer.

Still, the backbone of the product line — especially in their mid-range and EDC-focused models — remains the assisted opening system born out of that original patent. Even today, Kershaw continues to release new models built around this tried-and-true mechanism.

And the philosophy hasn’t changed: build tools that are practical, affordable, and a pleasure to use.

Conclusion: One Small Spring, One Giant Leap for Knife Design

Kershaw’s assisted opening system may be hidden inside the handle, but its impact is visible across the knife industry. From casual users to diehard collectors, people recognize the value of a mechanism that delivers speed without sacrificing control — and power without complicating the design.

Whether you’re buying your first pocketknife or adding your fiftieth to the shelf, understanding what’s behind that satisfying snap gives you a new appreciation for the tool in your hand.

So the next time you pick up a Kershaw and feel that clean, confident flick — remember, you’re holding a little piece of knife history.